Biuro: tel. +48 (81) 710 11 25 pon.-pt.: 8:00 – 18:00
Darmowa dostawa od 200 zł Sprawdź
Wspornik do płaskownika do 30 mm, St/tZn
Wspornik do płaskownika do 30 mm, St/tZn
Wspornik do płaskownika do 30 mm, St/tZn
Wspornik do płaskownika do 30 mm, St/tZn
DEHN POLSKA sp. z o. o.

Wspornik do płaskownika do 30 mm, St/tZn

Kod produktu1025811
EAN4013364022485
Jednostkaszt
Numer katalogowy284030
Link do producentaDEHN POLSKA sp. z o. o.
Podstawowe dane techniczne
ETIM
EC000508
Kraj pochodzenia
Niemcy
Waga
0.0542
24h
Magazyn: 0
14 dni
Producent: 0
Punkty w Elektroklub: pt.

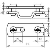
Wsporniki do płaskownika z płytką dociskową ze szczeliną (wykonanie płaskie), do mocowania płaskowników. Wykonanie ze szczeliną (6,5 × 16 mm).