Menu
Konto
0
Ulubione
0
Koszyk
Biuro:
tel. +48 (81) 710 11 25
pon.-pt.: 8:00 – 18:00
Darmowa dostawa od 200 zł
Sprawdź
Blog
Oddziały hurtowe
Polski / PLN
Wyświetl cenę
0
0
Koszyk:
0,00 zł
Kategorie
Producenci
Promocje
Konfiguratory
Strefa porad
Programy partnerskie
Zostań naszym klientem
Kontakt
Strona główna
Szyny zaciskowe
Akcesoria do zacisków
ramka Snap-In
WAGO ELWAG
ramka Snap-In
Kod produktu
1307649
EAN
4055143564700
Jednostka
szt
Numer katalogowy
831-302
Link do producenta
WAGO ELWAG
Podstawowe dane techniczne
Kraj pochodzenia
Niemcy
ETIM
EC002848
24h
Magazyn: 0
14 dni
Producent: 0
Punkty w Elektroklub: pt.
Dodaj do ulubionych
Opis produktu
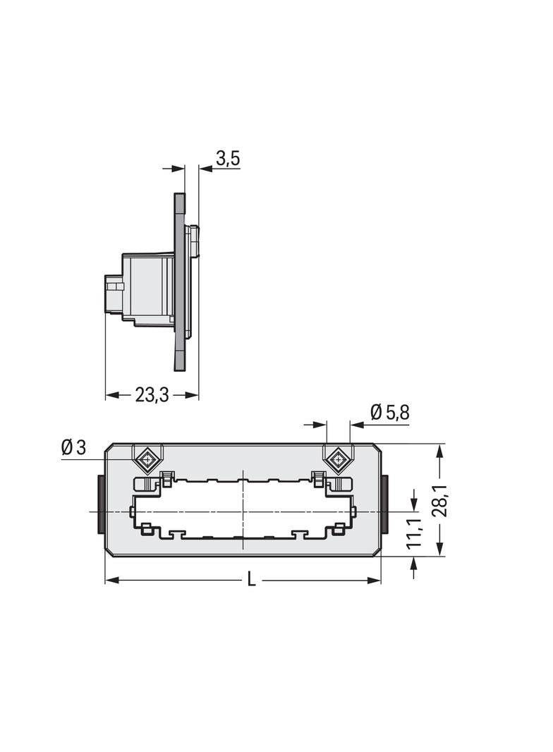
ramka Snap-In; do wtyków; 1-częściowa; raster 7,62 mm; 2-bieg.; jasnoszary
Dane techniczne
Kraj pochodzenia:
Niemcy
Numer katalogowy:
831-302
ETIM:
EC002848