Menu
Konto
0
Ulubione
0
Koszyk
Biuro:
tel. +48 (81) 710 11 25
pon.-pt.: 8:00 – 18:00
Darmowa dostawa od 200 zł
Sprawdź
Blog
Oddziały hurtowe
Polski / PLN
Wyświetl cenę
0
0
Koszyk:
0,00 zł
Kategorie
Producenci
Promocje
Konfiguratory
Strefa porad
Programy partnerskie
Zostań naszym klientem
Kontakt
Strona główna
Kablowe systemy nośne
Łuk do korytek kablowych
PIONOWY ŁUK PRZEGUB.90 110X300M
OBO BETTERMAN
PIONOWY ŁUK PRZEGUB.90 110X300M
Kod produktu
192238
EAN
4012196218714
Jednostka
szt
Numer katalogowy
7006667
Link do producenta
OBO BETTERMAN
Podstawowe dane techniczne
ETIM
EC002400
24h
Magazyn: 0
14 dni
Producent: 0
Punkty w Elektroklub: pt.
Dodaj do ulubionych
Opis produktu
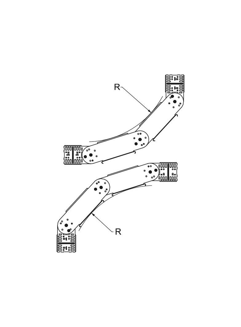
Łuk przegubowy 90°, pionowy, do wszystkich typów koryt o wys. boku 110 mm.
Dane techniczne
Numer katalogowy:
7006667
ETIM:
EC002400
Pliki do pobrania
1
Karta produktu
RGBV_130_FS-7006667-pl_PL.pdf