:fill(white)/f3c511d1f64313ca764f0755e7bdd364.jpg)
:fill(white)/f5a92ffa83409024505fe2a12ea12f75.jpg)
:fill(white)/c6fa8c6a3f6d9578fcd5219fe1fedb44.jpg)
:fill(white)/f3c511d1f64313ca764f0755e7bdd364.jpg)
:fill(white)/f5a92ffa83409024505fe2a12ea12f75.jpg)
:fill(white)/c6fa8c6a3f6d9578fcd5219fe1fedb44.jpg)
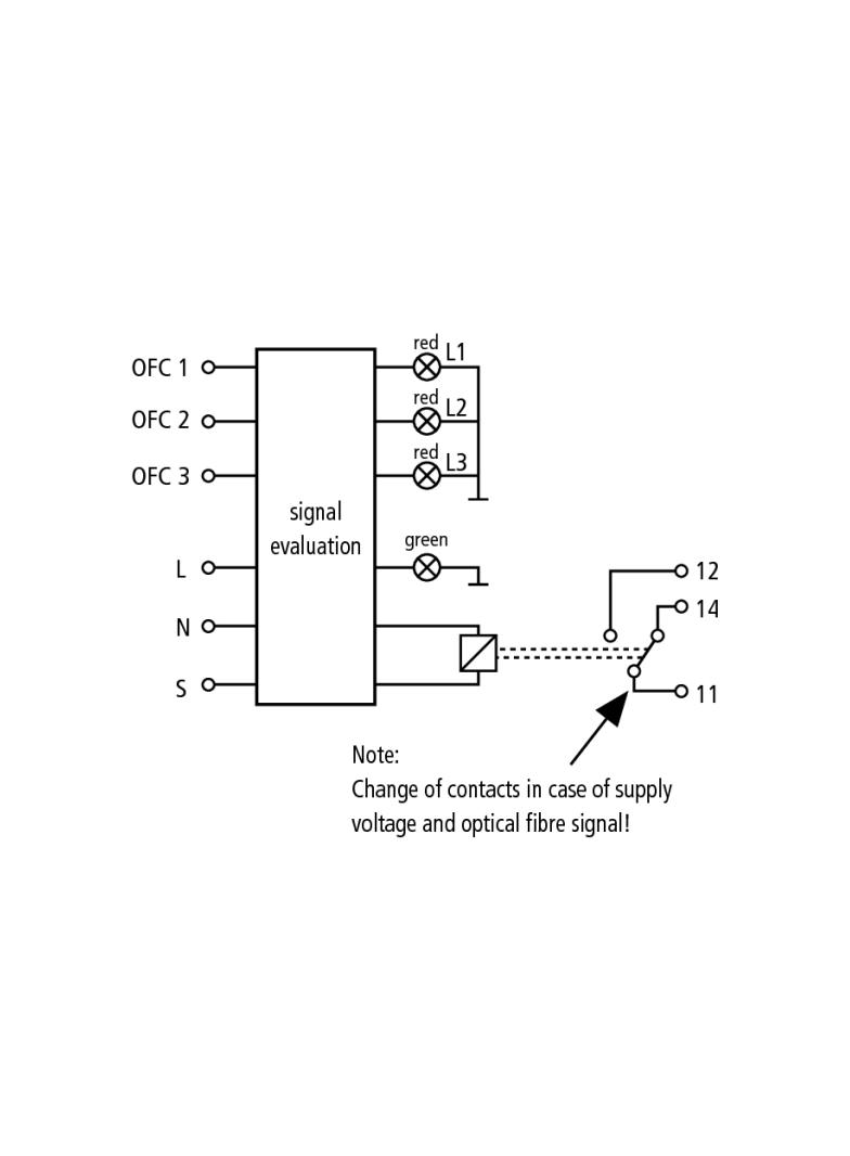
Moduł odbiorczy sygnału światłowodowego DEHNsignal E 3 do selektywnej sygnalizacji stanu / zbiorczej sygnalizacji uszkodzenia trzech skoordynowanych ograniczników DEHNbloc Maxi S i jednego DEHNgap Maxi S (jeśli występuje) w sieci 5-przewodowej z bezpotencjałowym zestykiem przełącznym.