:fill(white)/ab6673c655658416e66a1091943ae666.png)
:fill(white)/1ceb4bdabc79e7d5d6d31418bbab0e9c.png)
:fill(white)/ceb590601275a8fcf7c68b27c6730aff.png)
:fill(white)/ab6673c655658416e66a1091943ae666.png)
:fill(white)/1ceb4bdabc79e7d5d6d31418bbab0e9c.png)
:fill(white)/ceb590601275a8fcf7c68b27c6730aff.png)
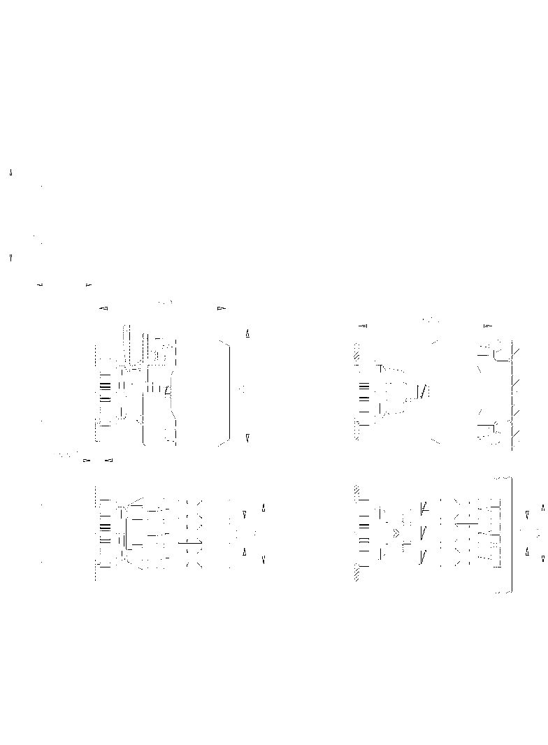
Zastosowanie
Przyciski sterownicze SP22 służą do załączania bądź rozłączania prądów o natężeniu do 2,5 A, sygnalizacji świetlnej oraz dźwiękowej w pulpitach maszyn, szafach sterowniczych.
Przyciski sterownicze i lampki sygnalizacyjne SP22 mają budowę członową. Rodzaje członów funkcyjnych występujących w przycisku ilustruje rys. A. Przyciski
sterownicze lub lampki sygnalizacyjne SP22 dostarczane są jako kompletne wyroby lub w postaci członów stanowiących elementy funkcjonalne przycisku lub lampki.
Budowa członowa przycisków i lampek SP22 ułatwia tworzenie potrzebnych wariantów funkcjonalnych przycisków, a także wprowadzenie zmian w istniejących
obwodach sterowniczych. Przyciski sterownicze SP22 przewidziane są do wbudowania w znormalizowane otworyo średnicy 22.3 mm, wykonane w pulpitach (tablicach) sterowniczo-sygnalizacyjnych
lub bezpośrednio w korpusach maszyn i urządzeń. Część nadpulpitowa przycisków wykonana jest w kolorze czarnym lub pokryta niklem satynowym.